Porsche разработала сиденье, в котором водитель может спать
Совсем недавно руководство Porsche заявляло, что марка станет последней в мире, которая отодвинет водителя от управления и внедрит в свои спорткары автопилоты. Однако, похоже, немцы не отказываются от трендов – об этом говорят патентные изображения водительского кресла специально для автономных автомобилей.
А раз так, то скоро в сегменте может появиться действительно интересная модель с автопилотом: недавно представленный Taycan, первый полностью электрический автомобиль от Porsche, в очередной раз доказал, что если автопроизводитель берется осваивать новую технологию, он доведет ее до совершенства.
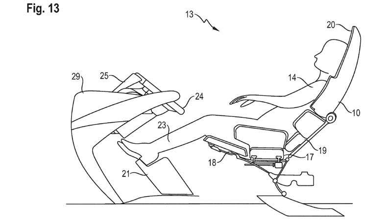
Что касается сиденья. Изначально картинки были направлены в патентное бюро Германии, а сейчас рассматриваются во Всемирной организации интеллектуальной собственности (WIPO). На рисунках изображено водительское кресло с электроприводом, которое может находиться в различных позициях, а органы управления автомобилем выдвигаются или складываются, вместо педалей появляется подставка для ног.







Оставить комментарий